專利類型:發明

A:人類生活需要

B:作業、運輸

C:化學;冶金;組合化學

D:紡織;造紙

E:固定建築物

F:機械工程;照明;供熱;武器;爆破

G:物理

H:電學

專利類型:新型

A:人類生活需要

B:作業、運輸

C:化學;冶金;組合化學

D:紡織;造紙

E:固定建築物

F:機械工程;照明;供熱;武器;爆破

G:物理

H:電學

專利類型:設計

A:人類生活需要

B:作業、運輸

C:化學;冶金;組合化學

D:紡織;造紙

E:固定建築物

F:機械工程;照明;供熱;武器;爆破

G:物理

H:電學

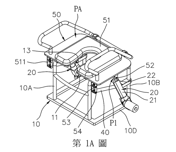
輔助站立裝置

國別: 中華民國
研發人: 謝龍昌
證號: M627016
專利類型: M新型
補助單位:
技術領域:
關鍵字: 輔具、輔助站立
生效日期: 2022-05-11~2032-01-05
是否技轉: