專利類型:發明

A:人類生活需要

B:作業、運輸

C:化學;冶金;組合化學

D:紡織;造紙

E:固定建築物

F:機械工程;照明;供熱;武器;爆破

G:物理

H:電學

專利類型:新型

A:人類生活需要

B:作業、運輸

C:化學;冶金;組合化學

D:紡織;造紙

E:固定建築物

F:機械工程;照明;供熱;武器;爆破

G:物理

H:電學

專利類型:設計

A:人類生活需要

B:作業、運輸

C:化學;冶金;組合化學

D:紡織;造紙

E:固定建築物

F:機械工程;照明;供熱;武器;爆破

G:物理

H:電學

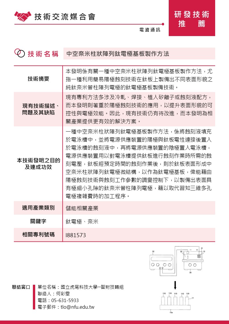
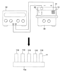
中空奈米柱狀陣列鈦電極基板製作方法

國別: 中華民國
研發人: 游信和
證號: I881573
專利類型: I:發明
補助單位: 科技部
技術領域:
關鍵字: 鈦電極、奈米
生效日期: 2025-04-21~2043-11-30
是否技轉: