專利類型:發明

A:人類生活需要

B:作業、運輸

C:化學;冶金;組合化學

D:紡織;造紙

E:固定建築物

F:機械工程;照明;供熱;武器;爆破

G:物理

H:電學

專利類型:新型

A:人類生活需要

B:作業、運輸

C:化學;冶金;組合化學

D:紡織;造紙

E:固定建築物

F:機械工程;照明;供熱;武器;爆破

G:物理

H:電學

專利類型:設計

A:人類生活需要

B:作業、運輸

C:化學;冶金;組合化學

D:紡織;造紙

E:固定建築物

F:機械工程;照明;供熱;武器;爆破

G:物理

H:電學

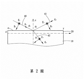
一種產生非對稱性反射及折射的方法

國別: 中華民國
研發人: 廖重賓
證號: I344015
專利類型: I:發明
補助單位: 科技部
技術領域:
關鍵字:
生效日期: 2011-06-21~2027-02-11
是否技轉: